Kẹp chữ F Bessey SLV là giải pháp lý tưởng để kẹp các chi tiết dài hoặc có lỗ mở trung tâm. Lực kẹp tối đa lên tới 6.500N, đế ép chịu nhiệt có thể xoay nghiêng 35°, phù hợp cho cả ứng dụng hàn tack hoặc kẹp linh hoạt trên cấu kiện lớn. Xuất xứ: Đức.
- Đặc tính kỹ thuật kẹp chữ F SLV BESSEY
- Lực kẹp đạt tới 6.500N, đảm bảo giữ chặt các chi tiết lớn và nặng một cách an toàn.
- Thiết kế đế ép trung tâm giúp phân bổ lực đều, chống hiện tượng lệch tâm hoặc trượt khi kẹp.
- Đế ép được chế tạo từ vật liệu chịu nhiệt, có thể xoay nghiêng đến 35°, tối ưu cho kẹp các bề mặt nghiêng hoặc không đồng đều.
- Đặc biệt phù hợp với các cấu kiện có lỗ mở trung tâm – kẹp có thể đưa xuyên qua lỗ để cố định từ bên trong.
- Ray trượt tiết diện 27x13mm vững chắc, thiết kế có rãnh chống trượt theo tiêu chuẩn BESSEY.
- Tay vặn dạng chữ T dễ thao tác và truyền lực hiệu quả trong các điều kiện làm việc khắc nghiệt.
![]() |
![]() |
Thông số kỹ thuật SLV BESSEY

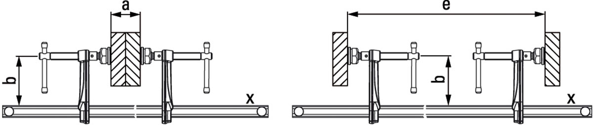
Ở trên là bản vẽ mô tả các thông số của kẹp chữ F, các ký hiệu được diễn giải như sau:
- a: Khả năng kẹp từ phía ngoài vào bạn chỉ cần quan tâm đến độ mở ngàm lớn nhất
- e: Khả năng kẹp từ trong ra, bạn cần quan tâm 2 thông số là độ mở ngàm nhỏ nhất và lớn nhất là bao nhiêu
- b: Độ sâu của ngàm kẹp
- x: Thiết diện thanh ray trượt
| Mã đặt hàng | Độ mở | Độ sâu ngàm | Khả năng kẹp rộng | Kích thước thanh trượt | Trọng lượng |
|---|---|---|---|---|---|
| SLV100M | 1000 mm | 120 mm | 340–1250 mm | 27×13 mm | 4.71 kg |
| SLV150M | 1500 mm | 120 mm | 340–1750 mm | 27×13 mm | 5.9 kg |
| SLV200M | 2000 mm | 120 mm | 340–2250 mm | 27×13 mm | 6.5 kg |
Bessey là thương hiệu được thành lập từ năm 1889 tại Đức, chuyên về lĩnh vực sản xuất kẹp giữ và dụng cụ cắt chất lượng cao cho ngành cơ khí, xây dựng và công nghiệp. Với hơn 130 năm kinh nghiệm và tinh thần cải tiến không ngừng, Bessey là một trong những nhà sản xuất hàng đầu thế giới trong lĩnh vực này. Unicom là đại lý phân phối chính thức Bessey tại Việt Nam.






Đánh giá
Chưa có đánh giá nào.