Panme điện tử Vogel 232813 được thiết kế chuyên dụng để đo chính xác độ dày thành ống, tấm và các chi tiết có cấu trúc mỏng. Thiết bị tuân thủ chuẩn DIN 863, tích hợp hệ thống đo tuyệt đối ABS, màn hình LCD hiển thị rõ nét với chiều cao ký tự 7mm. Người dùng có thể dễ dàng chuyển đổi đơn vị đo giữa mm/inch và cài đặt gốc (zero setting) tại mọi vị trí.
Đặc tính kỹ thuật Vogel 232813
Model 232813 được chế tạo với khung phủ sơn cách điện, mặt đo bằng carbide mài tinh, đe đo tôi cứng, bảo đảm độ bền và tuổi thọ lâu dài. Thiết bị có cơ cấu khóa nhanh, tay quay cóc giúp duy trì lực đo ổn định, giảm sai số khi thao tác.
Panme sử dụng pin LR44 (1.5V), dễ dàng thay thế, có chức năng tự động tắt/mở, tiết kiệm năng lượng. Đây là lựa chọn tối ưu cho kỹ sư cơ khí, sản xuất ống thép, nhựa và bộ phận kiểm tra chất lượng.

Thông số kỹ thuật Vogel 232813
- Thang đo: 0-25mm
- Độ chính xác: 0.001mm
- Sai số tối đa: 0.003mm
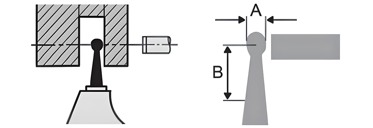
- Đường kính chuôi đo: 18mm
- Chiều dài đo: 25mm
- Bề mặt đo: Carbide, mài mịn
- Màn hình: LCD, chiều cao chữ số 7mm
- Vạch chia: Khắc laser
- Tính năng khác: Tự động tắt, cơ cấu ratchet
- Nguồn điện: 1 pin LR44 1.5V
| Mã đặt hàng | Dải đo (mm/inch) | Độ phân giải (mm/inch) | Ø trục đo (mm) | A (mm) | B (mm) | Sai số lớn nhất (mm) |
|---|---|---|---|---|---|---|
| 232813 | 0 – 25 / 0 – 1″ | 0.001 / 0.00005″ | 18 | 4.7 | 25 | 0.003 |
VOGEL Germany là thương hiệu đến từ Đức với hơn 70 năm kinh nghiệm trong lĩnh vực cung cấp thiết bị đo lường chính xác. Các dòng dụng cụ đo của hãng luôn đảm bảo độ tin cậy cao. Với dịch vụ hiệu chuẩn, sửa chữa và tư vấn kỹ thuật chuyên sâu, VOGEL Germany là lựa chọn hàng đầu trong ngành đo lường. Unicom là đại lý phân phối chính thức Vogel tại Việt Nam.


Đánh giá
Chưa có đánh giá nào.